Wednesday April 2026

হটলাইন

সেবা এবং ধাপ

নং শিরোনাম সেবার ধাপ কার্যকলাপ
  
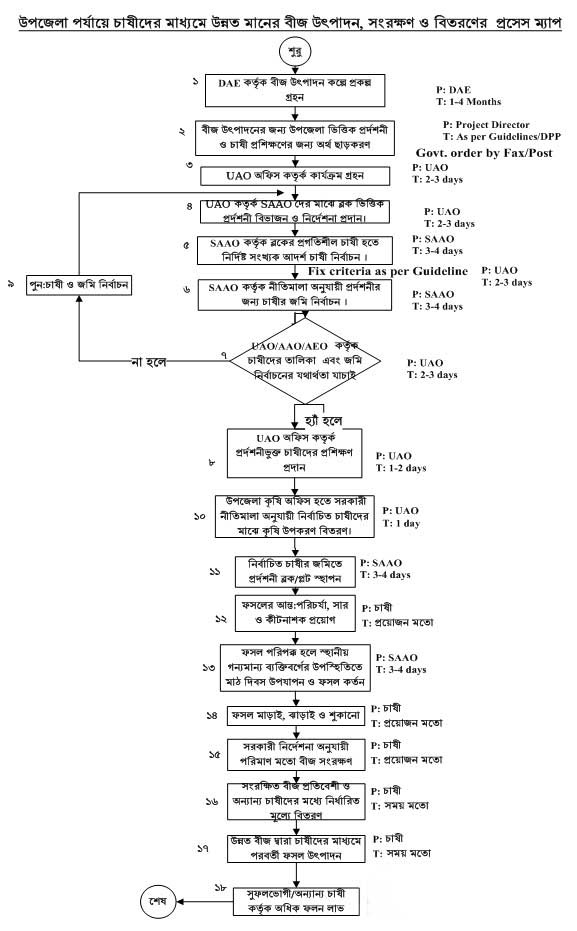
চাষী পর্যায়ে বীজ উৎপাদন সংরক্ষণ ও বিতরন দেখুন
সমন্নিত ফসল ও বালাই ব্যবস্থাপনা দেখুন
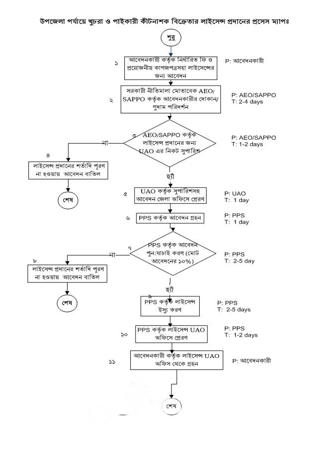
খুচরা ও পাইকারী কীটনাশক ডিলারের লাইসেন্স প্রাপ্তি দেখুন
প্রযুক্তি সপ্রসারণ দেখুন
উপজেলা পর্যায়ে সারের লাইসেন্স প্রাপ্তি দেখুন
কৃষি উপকরণ সহায়তা/ভর্তূকি দেখুন
প্রশিক্ষণ দেখুন
দেখছেন ১ থেকে ৭ পর্যন্ত, মোট ৭ এন্ট্রি

এক্সেসিবিলিটি

স্ক্রিন রিডার ডাউনলোড করুন